Cutout type
|
KNTP 8812.02
|
KNTP 8813.02
|
KNTP 8814.02
|
Range of set disconnection temperature Tdisc
|
35-99 °C
|
35-80 °C
|
50-320 °C
|
Difference of disconnection temperature |
-6 °C
|
-6 °C
|
-20 °C
|
Rated current |
16 (2,6) A
|
||
Rated voltage |
240 V
|
||
Temperature range (surrounding of switching unit) |
0-150 °C
|
||
Max. temperature (sensor) |
110 °C
|
90 °C
|
330 °C
|
Temperature for manual reconnection |
Tdisc -10 °C
|
Tdisc -10 °C
|
Tdisc -15 °C
|
Capillary length | 1 000 mm | 500 mm | 900 mm |
Weight |
80 g
|
75 g
|
70 g
|
Protection |
IP 00, built-in thermostat
|
||
Protection class |
I
|
||
Max. number of automatic disconnections and manual reconnections |
300 cycles
|
||
Min. radius of capillary bend |
Rmin = 5 mm
|
||
Connecting terminals |
flat pins 6,3 x 0,8 in accordance with ČSN EN 612 10
|
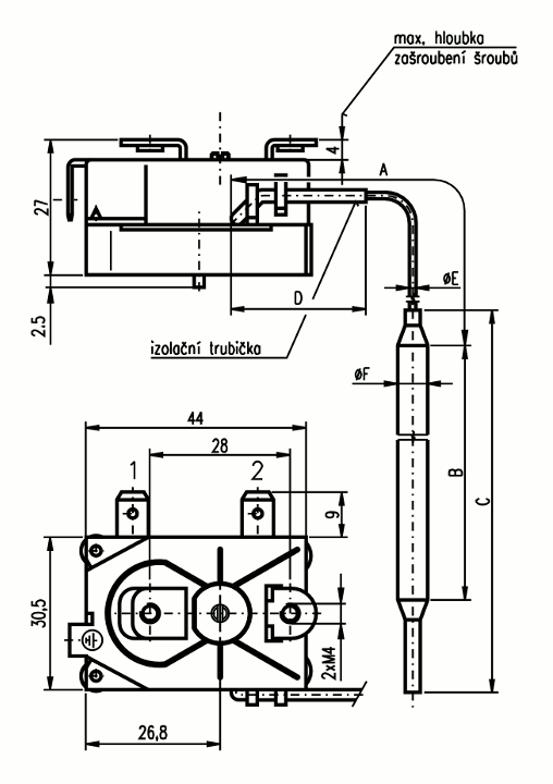
Type |
A [mm]
|
B [mm]
|
C [mm]
|
D [mm]
|
E [mm]
|
F [mm]
|
Material of sensor
|
Ground pin
|
8812.02 |
930
|
114
|
140
|
890
|
1,3
|
6
|
Cu
|
yes |
8813.01 |
450
|
114
|
140
|
410
|
1,3
|
6
|
Cu
|
yes |
8814.02 |
830
|
130
|
160
|
10
|
1,0
|
3
|
stainless steel
|
yes |